电话:0577-67989360

MQY搅拌式真空取样阀

发布时间: 浏览量:
 一、概述
   MQY搅拌式真空取样阀外形、内部结构通常取样阀不同,由螺旋叶轮为阀芯。此阀结合了球阀为一体式结构。取样与密封独立分离又合为一体独特创新设计,满足部分工业的特点要求。可安装与罐的底部或侧面,当罐内负压状态时真空取样。操作方便,带动螺旋叶轮增加浆料的中心吸力与循环推进力,实现取样,阀芯无需密封性能作用。MQY搅拌式真空取样阀密封性能良好,操作轻松快速,单手可完成作业。适用于化工、水泥厂、造纸厂、制药、农药、染料、食品等等粉料厂及浆料厂,使用低压(0.6MPa,1.0MPa)、常温或小于等于180度、介质:顺酐、小颗粒、粉末等。 
二、结构特点及工作原理
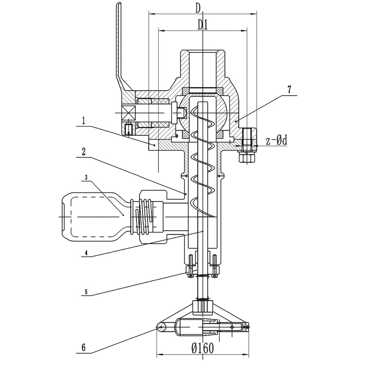
    MQY搅拌式真空取样阀主要由阀体、螺纹叶轮、球阀、手柄、卡箍等零件组成。阀体材用不锈钢316、316L、304等无缝管焊接而成七字形结构,阀表面抛光处理。内腔直通光滑刚好可以容纳螺旋叶轮,螺旋形叶轮轴上部光面可与阀体一端配填料密封,压盖紧配密封。在手柄与叶轮轴紧配带动取料,并在此中部加弹簧为防止螺旋叶轮下滑与内部球体碰撞。阀体另一端采用卡盘式与球阀连接,由卡箍紧固。阀体侧面T形出口内配PTFE管加工外圆刚好吻合,内加工螺纹与取样瓶相配,再由螺母紧固。球阀采用Q61F焊接口式与管道及罐焊接,简单的连接方式及保证良好的密封性能。方便使用方快速安装此阀。由于阀体内腔结构形成封闭式与大气隔离,独立的真空结构形成,可实现取样工作。
螺旋叶轮:
     螺旋叶轮回转时,在碎浆机简体内部形成浆料湍流运动时需要消耗运转功率。浆料湍流运动愈激烈,其消耗的运转功率也愈大。浆流全部对流状态的速度扩散取决于运动的浆料内部摩擦力与惯性力之间的相互作用。流体力学中表征湍流循环的特性物理量主要有:
    碎浆的雷诺准数Re为作用在浆料上的力与浆料内部粘性拖曳力之比
Re=(d2np)/μ
    式中:d为叶轮直径(m),d=0.72;n为转子转速(r·min-1),n=14.13;ρ为浆料密度(单位体积浆料的质量)(kg·m-3),ρ=1000;μ为浆料粘度(Pa·S),μ=100.5×10-5。
    经计算,Re=7.288×106>4000时,浆料流动类型为湍流
    螺旋叶轮功率
    N=f(ndρμg)
    式中:g为重力加速度(m·s-2),g=9.8。
 通过因次分析得出
     N/ρn3d5=K(d2np)2 (n2d/g)7
    碎浆功率准数Nφ为含有计算的功率N代表作用于被分离浆料上的力
     Nφ=N/ρn3d5=K(Re)2 (Ft)2
    通过以上分析可以得出:在运动浆料中作用力(惯性力和内部摩擦力)之间的一定内在关系的准数——雷诺准数就是浆料循环状态的主要控制因素。
(一)工作原理
     MQY搅拌式真空取样阀首先开启球阀,介质受罐内压通过球体内腔到叶轮。当顺时针转动手柄,带动螺旋叶轮。介质在叶轮推力下慢慢地向前,直到出口部进入取样瓶内。可随时关闭球阀,切断介质流动。此时转动手柄把阀腔内留着的介质取完。此阀操作简单,管道内无压力作用下,只需转动叶轮就可实现作业。